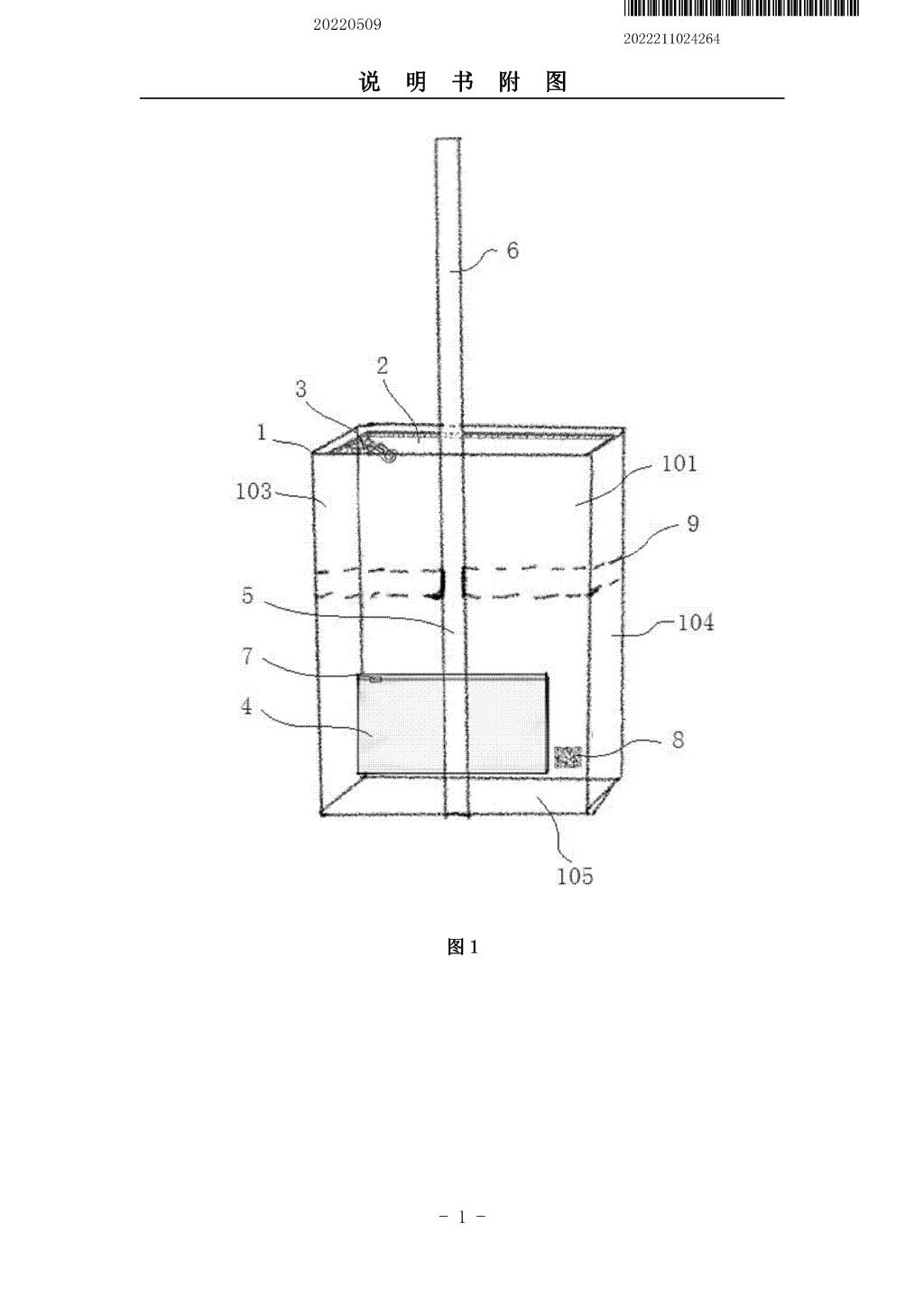
本实用新型公开一种可循环回收利用的折叠式快递包装袋,包括带有容纳腔的包装袋主体,该包装袋主体的上端设置有开口,且该开口处设置有尼龙防水拉链,通过尼龙防水拉链可将内部容纳腔空间封闭;所述的包装袋主体包括前侧面、后侧面、左侧面、右侧面以及底面;所述的前侧面设置有用于放置面单的面单透明袋,而后侧面下端相应设置有长条状的第--魔术贴,后侧面上端则相应设置有向上延伸的第二魔术贴,该第二魔术贴与第一魔术贴配合使用。本装置整体可循环重复利用,且节省回收空间,提高利用率,降低成本;并且本装置中包装袋主体和面单透明袋均采用环保材料制作,对环境不会产生不利影响,整体结构合理,使用方便。


