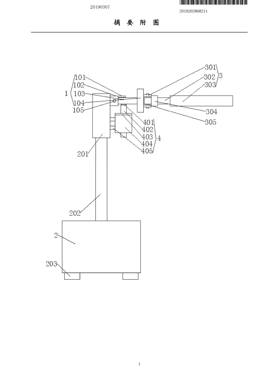
本实用新型公开了一种体育训练用弹跳力训练器,包括底座本体,所述底座本体底面周围安装有多个底垫,所述底座本体内部底面固定有驱动电机,所述驱动电机顶部竖直连接有驱动轴,所述驱动轴顶端固定有安装座,所述安装座侧面固定有竖向组件,所述竖向组件端部固定有横向组件,所述竖向组件的下方和所述横向组件的侧面均接触有缓冲组件。有益效果在于:本实用新型通过驱动轴带动横杆和套筒往复周向旋转,以此供运动员原地上下起跳来进行弹跳力训练,同时通过横向组件与缓冲组件配合能够在跳不过横杆时进行缓冲,且通过竖向组件与缓冲组件配合能够在踩踏横杆时进行缓冲,有效的防止了运动员在弹跳力训练过程中受伤。


